(New) 924/928/944/968 Exhaust Muffler Seal Ring 1980-95

Product Description:

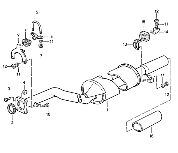
Exhaust seal ring catalyst to muffler

#2 in diagram

OE

Fits:

924 Turbo, 1987-88

928, 1978-84

944 Turbo, 1986-89

968, 1992-95

Product Number:

928 111 244 03

928.111.244.03

92811124403