(New) 911/912 Clutch Pedal Return Spring - 1965-76

Product Description:

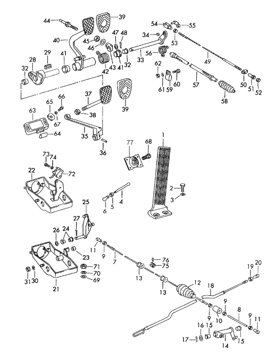
New genuine Porsche clutch pedal return spring.

#56 in diagram.

Fits:

911, 1965-73

912, 1965-69

912E, 1976

Product Number:

901 423 317 00

901.423.317.00

901-423-317-00

90142331700