(New) 911 Oil Cooler 1974-89

Product Description:

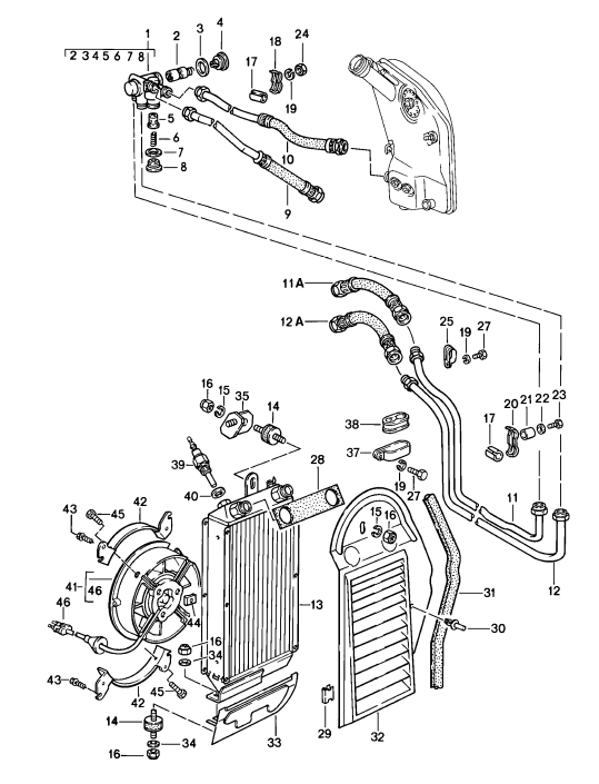
911 oil cooler (in fender)

#13 in diagram

Oil cooler for cars without fan use plug and seal

N 016 155 4 plug   900 123 007 30 seal

Fits:

911, 1974-83 use adapter kit 10 0201 053

911 Turbo, 1978-79 use adapter kit 10 0201 053

911, 1984-88

911 Turbo, Carrera, & Speedster 1989

Product Number:     Superseded:

930 207 053 02       930 207 053 04
930.207.053.02       930.207.053.04
930-207-053-02      930-207-053-04
93020705302          93020705340

Next Previous