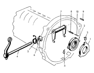
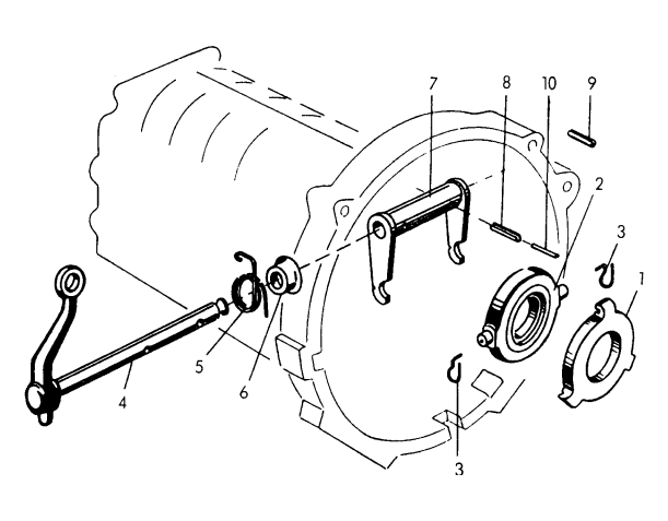
(New) 356 Release Bearing Retention Spring 1950-59

Product Description:

New genuine Porsche release bearing retention spring 

#3 in diagram, sold each

Fits:

356, 1950-59

Product Number:

716 116 831 00

716.116.831.00

716-116-831-00

71611683100

 


Next Previous