(Used) 912 Motor Mount Bracket 1966

Product Description:

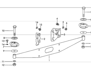
used 912 motor mount / cross mount / engine mount bracket.

early 66 style

#1 in diagram

Fits:

912, 1966

Product Number:

616 115 012 01

616.115.012.01

61611501201


Next Previous